SORU BANKASI Filtrele

Emniyetli Bağlama Elemanları Çizimi Ünite / Modül Soruları


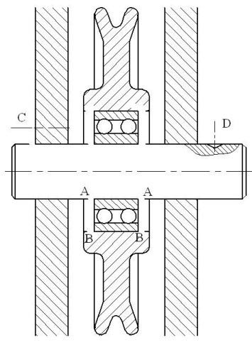
Soru 1

Yukarıda verilen kasnaklı birleştirme resminde eksik bırakılan kısımları aşağıdaki talimatlara göre tamamlayınız.

A –Yuvarlanmalı yatağın mil üzerinde sağa sola kaymasını önlemek amacıyla ilgili yerleri DIN 471’den seçeceğiniz emniyet segmanı ile birleştirme resmini tamamlayınız.

B –Yuvarlanmalı yatağın kasnak göbeği içerisinde sağa sola kaymasını önlemek amacı ile ilgili yeri DIN 472’den seçeceğiniz emniyet segmanı ile birleştirme resmini tamamlayınız.

C –Milin gövde yatağında dönmesini önlemek amacı ile milin sol yanında DIN 15058’den seçeceğiniz mil tespit plakası ile birleştirme resmini tamamlayınız.

D–Milin sola doğru hareketini önlemek amacıyla milin sağ ucundan DIN 705’ten seçeceğiniz A tipi ayar bileziği ile birleştirme resmini tamamlayınız?

Resmi tam kesit olarak çiziniz. Taranması gereken yerleri tarayınız


Soru 2

Mil tespit plakası seçilirken aşağıdaki ölçülerden hangisi dikkate alınmalıdır?

A) Mil boyuna göre
B) Mildeki kanal genişliğine göre
C) Mil çapına göre
D) Mil kanal boyuna göre

Soru 3

Çapı 56 mm olan bir mili emniyete almak için kullanılan mil tespit plakasının standart gösterilmesi aşağıdakilerin hangisinde doğru verilmiştir?

A) Mil Tespit Plakası DIN 15058-56-Fe37
B) Mil Tespit Plakası DIN 15058-40x6-Fe37
C) Mil Tespit Plakası DIN 471 -56x8-Fe37
D) Mil Tespit Plakası DIN 15058-56x8-Fe37

Soru 4

Mil tespit plakasının görevi aşağıdakilerden hangisidir?

A) Takıldığı mili sabitlemek
B) Takıldığı gövdeyi sabitlemek
C) Makaraların eksenel kaçmalarını önlemek
D) Makaraları sabitlemek

Soru 5

Emniyet segmanlarının standart gösterilmesi, aşağıdaki seçeneklerin hangisinde doğru verilmiştir?

A) Emniyet Segmanı DIN 472-1x20-Ck
B) Emniyet Segmanı DIN 471–50-Ck
C) Emniyet Segmanı DIN 471-10x1-Ck
D) Segman DIN 472-35x40-Ck

Soru 6

Emniyet segmanlarının standart gösterilmesi, aşağıdaki seçeneklerin hangisinde yanlış verilmiştir?

A) Emniyet Segman DIN 471-22x1,2-Ck
B) Segman DIN 471-60-Ck
C) Emniyet Segmanı DIN 472-38x1,5-CK
D) Emniyet Segmanı DIN472-12x1-Ck

Soru 7

Çapı 60 mm olan bir mil ile birleştirme kullanılacak emniyet segmanın standart gösterilmesi aşağıdakilerin hangisinde doğru verilmiştir?

A) Emniyet Segmanı DIN 471 60
B) Emniyet Segmanı DIN 471-60x2-Ck75
C) Segman DIN 472 60x2- Ck75
D) Emniyet Segmanı DIN 471-40x1,5-Ck75

Soru 8

Emniyet segmanı aşağıdaki kalıplardan hangisi ile üretilir?

A) Bükme kalıbı B) Enjeksiyon kalıbı
C) Kesme kalıbı D) Birleşik kalıplar

Soru 9

Segmanların takılacağı kanal genişlikleri aşağıdakilerden hangisine göre açılır?

A) Segmanla aynı genişlikte olur
B) Segman genişliğinden 0,1~0,2 mm küçük
C) Çok önemi yoktur
D) Segman genişliğinden 0,1 mm daha büyük

Soru 10

Delikler için emniyet segmanı hangi standart ve numarayla standartlaştırılmıştır?

A) DIN 471 B) DIN 472
C) DIN 705 D) TS 79

Soru 11

Emniyet segmanları birleştirme yaptıkları parçalarda nasıl bir emniyet sağlar?

A) Parçaların eksenel kaymalarını önler
B) Birbirine geçen parçaları bağlar
C) Bağladığı parçaların etkilendiği kuvvetleri karşılar veya iletir
D) Parçalar arasındaki sürtünmeyi engeller

Soru 12

Gupilyaların standart gösterilmesi, aşağıdaki seçeneklerin hangisinde yanlış verilmiştir?

A) Gupilya TS 2339/1 0,6x5 Fe50
B) Gupilya TS 2339/1 16x200 Fe50
C) Gupilya TS 2339/1 10x80 Fe50
D) Gupilya TS 2339/1 60 Fe50

Soru 13

Ayar bileziklerinin standart gösterilmesi, aşağıdaki seçeneklerin hangisinde doğru verilmiştir?

A) Ayar Bileziği DIN 705 B 10 - 9 SMn Pb 28
B) Ayar Bileziği DIN 705 8x40x6x4 - SMn Pb 28
C) Ayar Bileziği DIN 705 A 22x14 - SMn Pb 28
D) Bilezik DIN 705 C 12x12

Soru 14

Anma çapı d=8, boyu l=60, Fe50 malzemesinden yapılmış gupilyanın standart gösterilmesi aşağıdakilerden hangisinde doğru olarak verilmiştir?

A) GupilyaTS 2339/1 8x60 Fe50
B) TS 2339/1 8x60 Fe50
C) Gupilya TS 2339/18 Fe50
D) Gupilya TS 1024 8x60 Fe50

Soru 15

Gupilya çapı, aşağıdakilerden hangisine göre seçilir?

A) Perno çapına göre B) Somun çapına göre
C) Geçeceği delik çapına göre D) Somun genişliğine göre

Soru 16

Gupilya uçları delikten çıktıktan sonra neden ters yönde bükülür?

A) Gerilmeyi önlemek için
B) Birleştirilen elemanların yerinden oynamaması için
C) Titreşimlerden dolayı yerinden çıkmaması için
D) Bağlantı yaptığı yerde çıkıntı yapmaması için

Soru 17

Gupilyalar, daha çok nasıl çalışma ortamlarında kullanılır?

A) Ağır çalışma ortamlarında
B) Sessiz çalışma ortamlarında
C) Çok sesli çalışma ortamlarında
D) Titreşimli çalışma ortamlarında

Soru 18

Ayar bileziğinin standart gösterilmesinde, gereci niçin verilmelidir?

A) Verilen gereçten yapılması için
B) Alışılageldiği için
C) Verilmesi önemli değildir
D) Verilen gereçten yapılmaması için

Soru 19

Ayar bileziği alınırken hangi bilgileri verilmelidir?

A) Anma çapı B) Genişliği
C) DIN numarası D) Hepsi

Soru 20

Ayar bileziği aşağıdaki hangi elemanın eksenel kaymasını önlemez?

A) Dişli çark B) Mil
C) Makara D) Kasnak
Seçilen
Soru
Sayısı
0
1234
4 Sayfada Toplam 62 soru listeleniyor